Ваш город Екатеринбург?

Пробоотборный зонд ПЗ ВЗ «Атмосфера-4М»

В наличии

Производитель: Россия
Гарантия: 1 год
ГОСТ

17.2.3.01-86

Метролог. поверка: не включена в стоимость

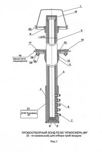
Пробоотборный зонд вертикального зондирования  ПЗ ВЗ «Атмосфера-4М»  предназначен для отбора проб при осуществлении контроля загрязнения атмосферы (КЗА) санитарно-защитной и жилой зон населенных пунктов в составе стационарных постов и передвижных лабораторий на сети наблюдений Росгидромета, а также в качестве универсального средства отбора и доставки проб атмосферного воздуха к приборам газоаналитического комплекса в составе автоматических станций КЗА.

Обеспечивает возможность одновременного отбора проб воздуха по 5-ти независимым каналам при разряжении на выходе каждого канала пробоотборного зонда не более 5 кПа с расходом воздуха 20дм3/мин.  При необходимости количество каналов может быть увеличено до 6-ти и более. Максимально суммарный расход воздуха по всем каналам зонда не менее 40дм3/мин. Зонд может быть оснащен устройством для подогрева анализируемых проб в диапазоне температур наружного воздуха от -50ОС до +5ОС.

Устройство обогрева пробоотборного зонда (УОПЗ) «Атмосфера-4М» конструктивно представляет  собой единое  пробоотборное устройство с расширенными функциональными возможностями. При этом, демонтаж устройства обогрева при положительных температурах наружного воздуха (более +5ОС) не требуется. Для оснащения зонда каплеотводом конденсата может выпускаться с горизонтальным расположением коллектора (гребенки) зонда. Пригоден для отбора проб атмосферного воздуха во всех климатических зонах Российской Федерации при температуре наружного воздуха от – 50ОС до +50ОС, относительной влажности от 20 до 90% и  атмосферном давлении от 84 до 106,7кПа, высота подъема над уровнем крыши поста 0,3-0,8м.

  • Варианты доставки

    1. Самовывоз
    • Свердловская область, г. Екатеринбург, ул. Щорса 7А, офис 19
    • пн-пт: с 9-00 до 18-00

Подскажем и поможем с выбором оборудования

Напишите нам, если нужна помощь с выбором оборудования или есть вопросы по поставкам

Либо свяжитесь напрямую:
  • Кац Светлана
    Кац Светлана Менеджер ОПТового отдела
  • Грязнева Ксения
    Грязнева Ксения Руководитель ОПТового отдела